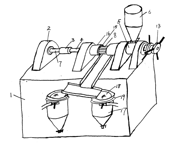
目前,螺旋榨油機是加工芝麻、花生仁、大豆、桐籽、胡麻籽及植物油籽的通用加工機械,一般螺旋榨油機包括機架、控制柜、動力源、減速箱、連軸節、螺旋榨軸、料筒、料斗等部件。

螺旋榨軸穿過料筒,并通過連軸節與減速箱動力輸出軸相連,螺旋榨軸的錐型前端和料筒前端的錐型縮口相配合形成擠出間隙,料斗放置在料筒上,并與料筒連通,螺旋榨軸的螺牙直徑保持恒定,螺旋榨軸螺谷從后端到前端逐漸變低,出渣口處有一錐型收縮口,通過螺旋榨軸的轉動,從料斗下來的原料沿螺谷向前運動,并逐漸受到擠壓和摩擦,在料筒的錐型收縮口,擠壓加劇,油渣分離。油從料筒的出油口段流出,出油口段上加工有可以漏油的小孔或者縫隙,油渣從料筒錐型口擠出,錐型口處料筒和螺旋榨軸的擠出間隙可以通過螺旋榨軸后端和料筒后端之間的調節螺絲/螺母進行調節,螺旋榨軸的后端設有活動連接的螺絲,該螺絲和料筒上的固定螺母配合,螺母和料筒制成一體,料筒周邊安裝有加熱元件。加熱元件外包保溫材料,同時安裝有自動恒溫裝置對料筒周邊的加熱元件進行溫度控制,螺旋榨油機還帶有真空濾油儲油罐,這樣使榨油過程和原料加熱同時進行,并將出油溫度控制在適宜溫度,改變了油品質量,減少了油的加工環節。

榨油概括地說可分為三個階段:進料(預壓)段、主要榨(出油)段、成餅(重壓瀝油)段。螺旋榨油機的主要部分是榨膛,榨膛是由榨籠和在榨籠內旋轉的螺旋軸組成的。它的工作過程是利用螺旋軸的不斷旋轉帶動螺旋隨著導程的縮小或根圓直徑逐漸的變大,使榨膛空間體積不斷縮小而產生榨油的作用力;榨出的油脂從榨籠縫隙中擠壓流出,同時將殘渣壓成屑狀餅片,從榨油末端不斷排出。
螺旋榨油機的工作過程,概括地說,即由于旋轉的螺旋軸在榨膛內的推進作用,使榨料連續地向前推進。同時,由于榨螺螺距的縮小或根圓直徑逐漸變大,使榨膛內空間體積逐漸縮小而產生榨油的作用。在這一過程中,榨料被推進并被壓縮,油脂則從榨籠的縫隙中擠壓流出,同時殘渣被壓成餅塊從榨軸末端不斷排出。
更多榨油機產品知識請訪問:m.01304.cn 手機:15639480959 電話:0394-8687956 劉經理
相關閱讀:
掃一掃
獲取更多快速服務
全國免費咨詢熱線
15639480959
掃一掃
獲取更多快速服務
全國免費咨詢熱線
15639480959